您好,欢迎来到合力特材阀门有限公司!
合力特材阀门有限公司

全国咨询热线:0577-67371288

产品展示
当前位置:首页 > 产品展示 > 真空(水封)阀门 > DSZ64H焊接水封闸阀
DSZ64H焊接水封闸阀

DSZ64H焊接水封闸阀

DSZ64H焊接水封闸阀
全国热线

0577-67371288

产品介绍
DSZ64H焊接水封闸阀
产品名称:焊接水封闸阀
产品型号:DSZ64H DSZ44H、DSZ41H、DSZ944H、DSZ941H
产品口径:DN50-600
产品压力:1.0~16.0Mpa
产品材质:铸钢、不锈钢等
水封阀的结构特点及用途:
1 、本产品的阀盖填料室具有水密封结构,当接口通入压力0、6-1Mpa 的水时,可使系统与 大气隔离,保证系统具有良好的气密性。   
2 、 DS/Z 型系列采用双闸板双向弹性密封、启闭灵活、迅速、密封可靠。   
3 、产品结构简单、紧凑合理、检修方便,使用寿命长   
4 、在管路上坐启闭装置用,必须处于全开或半开状态,不得用于调节流量。   
5 、阀门连接形式分法兰、焊接两种,驱动方式为手动、电动两种。   
6 、 DS 系列水封阀门适用于公称压力 ≦10.0Mpa ,工作温度 ≦ 425℃ ,工作介质为水、蒸汽、 油田和非腐蚀性气体的管路上作启闭装置用,尤其适用于火电厂汽机真空冷凝系统。 
主要零件材料
产品类型
零件名称
阀体、阀盖、支架
阀杆
闸板、阀瓣、密封面
阀座密封面
阀杆螺母
填料
碳钢型I
WCB
1Crl3
或2Crl3
Crl3型不锈钢或硬质合金
不锈钢
 
 
 
铝青铜
 
 
 
柔性石墨
合金钢(I)
WC6 Cr5M01
38CrMoAlA 20CrlM01VA
钴基合金
硬质合金
 
CF8(P)
CF8
F304
CF8或F304
不锈钢
使用范围
产品类别
适用温度/℃
适用介质
碳钢型(C)
≤425 
水、蒸汽、油品、非腐蚀性气体
合金钢(I)
≤540 
CF8(P)
≤200
弱腐蚀性介质
 
 
 
 
 
 
 
 
主要性能规范
 
试验压力
公称压力
1.0
1.6
2.5
4.0
6.4
10.0
壳体强度试验
1.5
2.4
3.8
6.0
9.6
15.0
密封试验
1.1
1.8
2.8
4.4
7.0
11.0
上密封试验
1.1
1.8
2.8
4.4
7.0
11.0
气密封试验
0.5~0.7
水封闸阀主要尺寸
DS/Z64H-1625 DS/Z64Y-16I25I
公称通径
L
α
H
DO
PNl.6/MPa
PN2.5/MPa
 
 
 
D
D1
D
D1
50
250
37o30'
334
250
58
50
64
4g
65
270
37o30'
439
250
75
65
82
67
80
280
37o30'
495
300
91
79
95
77
100
300
37o30'
575
350
11O
97
117
101
125
325
37o30'
587
350
136
121
144
126
150
350
37o30'
607
350
163
146
172
158
200
400
37o30'
740
400
223
202
223
202
250
450
37o30'
863
400
278
254
278
254
300
500
37o30'
990
400
330
305
330
305
350
550
37o30'
1137
500
382
352
382
352
400
600
37o30'
1523
500
432
399
432
39g
450
650
37o30'
1618
600
485
451
485
451
500
700
37o30'
1657
600
535
501
535
499
600
800
37o30'
1746
700
636
601
636
599
注:PN1.6(16)阀门允许作为PN1.0(10)压力选用
 
DS/Z64H-4064100 DS/Z64Y-40I64I100I水封闸阀主要尺寸

公称通径
L
D
α
PN4.0MPa
PN6.4/MPa
PN10.0MPa
 
 
 
 
D1
H
D0
D1
H
DO
D1
H
D0
50
250
64
37o30'
49
345
300
50
350
300
49
350
300
65
270
83
37o30'
67
441
300
66
447
300
64
447
300
80
280
96
37o30'
79
495
350
77
499
350
75
499
350
100
300
117
37o30'
101
575
350
99
582
400
87
582
400
125
325
144
37o30'
126
587
400
129
590
400
125
590
400
150
350
172
37o30'
152
607
400
150
611
450
145
611
450
200
400
223
37o30'
200
740
450
198
745
550
190
747
550
250
450
278
37o30'
252
863
550
246
867
650
236
869
650
300
500
330
37o30'
302
1008
650
294
1008
750
282
1013
750
350
550
382
37o30'
350
1142
750
342
1148
800
334
1148
850
400
650
432
37o30'
397
1527
850
387
1531
900
377
1533
950
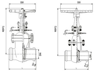
DSZ64H焊接水封闸阀示意图:


CopyRight 2021 合力阀门有限公司 All Rights Reserved 浙ICP备案:浙ICP备14025523号-4

返回顶部